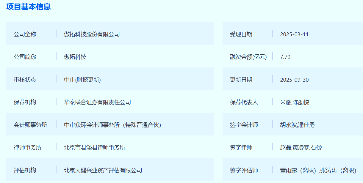
星瞰IPO | 傲拓科技80%毛利率引问询,曾有股份代持“乱账”
《星岛》见习记者 屈慧 深圳报道
前沿技术的国产化向来是资本市场热衷的题材。在工业自动化 PLC(可编程逻辑控制器)领域,有望迎来一家新的国产替代上市公司——傲拓科技股份有限公司(下称 “傲拓科技”)。
傲拓科技于今年3月递交IPO申请,随后完成第一轮问询及回复。9月底,因IPO申请文件财务资料过期,其IPO进程暂时中止。
《星岛》记者查询上交所后了解到,在首轮问询中,上交所向傲拓科技发出十七问,直指公司控制权归属、股份代持情况、技术先进性、毛利率过高等核心疑虑。
这家宣称“打破了国际品牌在中大型PLC市场绝对垄断地位”的企业,底色究竟如何?
毛利率80%引质疑
傲拓科技成立于2008年,是一家典型的技术驱动型企业,总部位于南京。其核心技术团队是中国最早从事中大型PLC自主研发的团队之一,凭借国产化中大型PLC技术,公司拿下一批政府重点工程订单,产品主要应用于水利水电、石油石化、船舶、轨道交通、国防、市政、冶金等领域。
根据招股书,傲拓科技参与的重大项目包括:三峡水电站机组自主可控改造项目、贵州洪家渡水电站自主可控水电站计算机监控系统项目、南水北调东线水利枢纽江都四站改造项目、胜利油田生产信息化建设项目、青岛地铁四号线城市轨道交通BAS系统项目等。
值得注意的是,2015年,傲拓科技曾在新三板挂牌,但五年后公司申请了退市。
本次冲击科创板,傲拓科技计划募资7.79亿元,资金将用于产研一体化中心建设、本地化技术服务中心建设及补充流动资金。
PLC作为工业领域的关键控制器,是工业软件的重要组成部分。长期以来,该领域核心技术被德国西门子、美国罗克韦尔、法国施耐德等国际企业掌控。
傲拓科技在招股书中称,公司已在工业控制系统核心控制器领域实现关键技术自主化突破,并在多个重点领域完成产业化应用,逐步打破国际品牌在中大型PLC市场的绝对垄断。
招股书显示,2022—2024 年,傲拓科技营收分别为1.42亿元、1.97亿元、2.44亿元;对应归母净利润分别为3697万元、5317万元、8910万元。
最受市场质疑的是,傲拓科技毛利率远超国内同行——上交所已在问询函中要求公司解释成本结构、毛利率可持续性等问题。
招股书显示,2022—2024 年,公司综合毛利率分别为67.94%、74.23%、72.52%;其中,核心产品中大型PLC过去三年毛利率均维持在80%以上。
作为对比,A股同业的毛利率均值仅为36.25%。
对此,傲拓科技在问询回复中解释称,中大型PLC产品具有较高技术门槛与市场壁垒,定价端存在显著技术溢价;同时,PLC硬件成本本身较低,且软件开发前期投入已完成、后续边际成本低,多重因素叠加使公司毛利率保持高位。
值得注意的是,尽管傲拓科技宣称具备技术优势,但其市场份额表现并不突出:2021—2024年,公司在中国中大型PLC市场的占比分别仅为0.76%、0.88%、1.29%、2.35%,其客户多为国有大型工程,较少市场化项目。
由此可见,傲拓科技的亮眼业绩与高毛利率,很大程度上依赖短期政策红利或特定客户关系,其可持续性仍存疑。
股权代持“乱如麻”,控制权归属引问询
傲拓科技过往的股份代持情况与控制权归属,是上交所问询函的重点关注方向。
傲拓科技由陈思宁、陈宇彦姐弟共同创立。姐姐陈思宁现年55岁,曾在国网南京自动化研究院自动控制研究所任职十余年,2008年携核心技术辞职创办傲拓科技;弟弟陈宇彦现年53岁,中国籍、拥有美国永久居留权,创业前长期从事地产与投资类业务。
姐弟俩创业分工明确:陈思宁作为技术团队核心,主导技术研发;陈宇彦则长期负责融资等事务。
本是姐弟二人协力践行“PLC 国产化”梦想,最终公司控制权却仅归属陈思宁一人——这一情况引发上交所关注,问询函要求傲拓科技解释姐弟间股权转让的真实性、是否存在代持或其他利益安排、实控人认定是否准确等问题。
据傲拓科技披露,2015年,陈氏姐弟完成一次重大股权转让:陈宇彦将其持有的傲拓科技全部股份转让给陈思宁;自2015年6月起,公司实控人由姐弟二人变更为陈思宁一人。
傲拓科技称,2015年因公司计划申请新三板挂牌,且陈宇彦拟将生活重心转移至美国,经家族内部协商,决定将股权全部转让给陈思宁。
公司在问询回复中进一步表示:陈氏姐弟间的股权转让不存在代持或争议,实控人认定准确,股权结构清晰。目前,陈宇彦仅通过员工持股平台持有傲拓科技15万股。
值得注意的是,陈宇彦虽让出实控人身份,却仍长期参与公司运营:2015—2018年间,陈宇彦担任傲拓科技董事、总经理;2018年8月至今,陈宇彦担任公司投资总监;同时还担任多家关联公司的法定代表人。
此外,傲拓科技发展过程中的股权代持问题堪称“一团乱账”。
招股书显示,2007—2024年间,10名直接或间接自然人股东存在复杂的股份代持情况,被代持人包括陈思宁、公司董事王善永等核心人员;代持双方关系涵盖母子、夫妻、岳婿、旁系亲属、朋友、生意伙伴等多种类型。
另据披露,2018年新三板挂牌期间,陈思宁还曾收到股转公司市场监察部出具的《关于对“陈思宁”采取要求提交书面承诺自律监管措施的决定》。该处罚起因是陈思宁在买卖傲拓科技过程中,存在申报价格明显偏离最近成交价并成交的行为。
新三板相对宽松的信息披露机制,让傲拓科技产生“侥幸”心理,长期在违规边缘试探,未能实现公司规范治理。直至此次冲击监管更严格的科创板,为满足合规要求,公司才着手处理股权代持等历史遗留问题。
傲拓科技在招股书中强调:公司历史沿革中的股权代持情形已完整披露并彻底解除,不存在未披露的股权代持、非经营性借款、异常资金往来或其他隐性利益安排。
截至目前,陈思宁通过多个持股平台持有傲拓科技38.83%的股份,为公司唯一实控人。











